文章
  • 文章
  • 产品
搜索

服务分类

首页 >> 新闻资讯 >>最新政策 >> 一个因为“马扎子”打起的官司
详细内容

一个因为“马扎子”打起的官司

坐在马扎子上吃着烤串喝着啤酒,这是多数人夏季夜生活开始的缩影。而最近,有两家单位确因为“马扎子”打起了官司;理由是对方侵害了“马扎子”注册商标权,并要求赔偿自己经济损失12000元。


图片


马扎子不是生活物品吗,怎么还能专属?”

“那是不是板凳椅子也能注册?”……

诸多网友不解的评论。

“万物皆可商标”的说法一时成为热议话题。


图片


商标的本质在于区别开公众市场上的其他商品,使商品具有显著特征。公众物品在不违反《商标法》中规定的不能注册成为商标或不能获得注册商标的情形,方可注册。根据我国商标法第十一条规定,以下几种标志不能作为商标注册:仅有本商品的通用名称、图形、型号的;仅直接表示商品的质量、主要原料、功能、用途、重量、数量及其他特点的;缺乏显著特征的。


图片


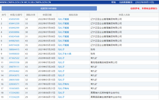
  查询显示青岛马扎子品牌管理有限公司的法人代表及实控人常九矿于2017年4月28日、2019年1月14日分别注册“马扎子烤肉”、“马扎子”商标,有效期均为十年。,青岛公司认为,威海马扎子火锅店未经许可,在其开设的火锅店内使用“马扎子”字样,侵犯了原告青岛马扎子公司的商标专用权。

被告威海老火锅店辩称,“马扎子”“马扎”是多地区常用坐具,非原告青岛马扎子公司独创词。“马扎子火锅”意为“坐着马扎吃火锅”,被告在其店铺中以马扎代替凳子的设计,符合风俗习惯,并非学习青岛马扎子公司的经营模式,未侵犯涉案商标权。威海马扎子虽然从事餐饮服务,但经营的是老北京铜锅涮肉,与青岛马扎子经营的烤肉在经营范围、装修风格等方面存在较大差异,不会造成相关公众混淆。

法院判决结果为,裁定被告所使用的“马扎子”标识与涉案商标构成近似,被告威海老火锅店需立即停止使用“马扎子”“马扎子老火锅”字样的行为,并赔偿原告经济损失12000元。


图片


截至目前,青岛马扎子因为商标侵权已起诉多家企业,包含常州市经开区遥观马扎子餐饮店、徐州市铜山区马扎子烧烤上海路店、日照市东港区秦楼街道马扎子烧烤店等。其中徐州店、日照店均被判处侵权,要求赔偿16000元、12000元。  


图片

图片


在商标侵权案件中,认定商标相同或近似有三个原则:一是以相关公众的一般注意力为标准;二是既要进行对商标的整体比对,又要进行对商标主要部分的比对,比对应当在比对对象隔离的状态下分别进行;三是判断商标是否近似,应当考虑请求保护注册商标的显著性和知名度。


在“马扎子”之争中,青岛马扎子胜诉在涉案商标是合法有效注册商标,权属无争议。被告威海方使用了与原告注册商标相同或近似的标识,且被告从事的火锅与原告烤肉都属于第43类餐饮服务类,属于相同类似服务。  据商标法的规定,未经商标权人的许可,在同一种服务上使用与其注册商标近似的商标,容易导致混淆的,构成侵犯注册商标权的行为。如权利人认为商标系被他人恶意抢注,或者对该注册商标有异议,可以按照商标法规定的法定程序提出异议或者申请撤销。



图片

专业知识每日分享















































  
 哪些证据不被视为《商标法》意义上的商标使用?

   仅提交下列证据,不被视为《商标法》意义上的商标使用:

  1.商品销售合同或提供服务的协议、合同;

  2.书面证言;

  3.难以识别是否经过修改的物证、视听资料、网站信息等;

  4.实物与复制品。



服务监督

全程监督有保障

安全保障

SSL/TDE数据加密

专业解答

平均4年行业经验 持证上岗

售后无忧

不成功不收费,权益硬保障

一路通

服务项目

地址:珠海市香洲区金梦巷33号410办公

电话:公司注册:13326698609

           记账报税:18933211609

邮箱:ouyangbo@zh-ylt.com

微信:abo2677

关注订阅号

关注服务号

本站已支持IPv6
0
×

购物车

商品名称 数量 产品单价 折扣 总计
金额总计:¥23立即结算
seo seo