只是,这个新晋品牌去年的关联词一水的都是赞扬,用料好,高端,雪糕中的爱马仕等等,让他在一众雪糕中脱颖而出,迅速成为雪糕界的网红。然而到了今年,口碑急转直下,营销咖,价格虚高,甚至很多人把众多“雪糕刺客”的诞生原因都安到了他头上,只是因为他让众多品牌都注意到了高端雪糕这块蛋糕,无不想到其中掺一脚以分一杯羹。

钟薛高是近几年来崛起的中式雪糕品牌,在2018年3月成立于上海成立。在上市之后,它在天猫618的销售榜单中,钟薛高以月销10万+的数据稳居榜首,比第二名多出3万。就现在这个时间节点来说,钟薛高就是网红雪糕。
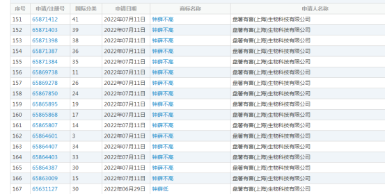
钟薛高来源于中式雪糕的谐音,并将青瓦白墙的中式建筑融入雪糕中,表现为瓦片状的雪糕。该产品的每种口味名也是经过修饰的,像可可口味被称作丝绒可可、抹茶口味则命名为老树北抹茶等等,钟薛高用形象的语言为每种雪糕口味命名,营造出独特的中式氛围感。在对外宣传中,创始人林盛也表达出了想要振兴国货,制造属于中国人自己的高端雪糕的梦想,更是为钟薛高确立下“中式”、“国货”等标签。 小编其实以前不认识这个雪糕.近期因为打火机烧“钟薛高”雪糕不融化火遍全网而认识这个“雪糕刺客”可是不管是好的名声还是坏的名声.“钟薛高”这次是彻彻底底的火了盘箸有喜(上海)生物科技有限公司申请注册“钟薛低”“钟薛不低”“钟薛不高”“钟薛小高”“钟薛步步高”商标。天眼查显示,该公司由钟薛高食品(上海)有限公司全资持股。


对于消费者来讲,雪糕的价格和口味是关键。但对于品牌方来讲,商标的经营与维护工作,其重要性丝毫不逊于营销策略的制定。比如小红书科技有限公司申请注册“小紫书”商标;老干妈申请注册的“老干爹”“老姨妈”等商标;阿里巴巴申请注册的“阿里爸爸”“阿里爷爷”等商标;一加手机申请的“二加”“三加”“四加”“八加”“百加”“万加”商标等等。虽然“钟薛低”“钟薛不高”商标和这些商标一样都充满了沙雕且欢乐的气息,但在商标布局方面,却是明智之举。显然是为防止将来出现“同款”山寨品牌,对其造成负面影响。就像前些年来令大家苦笑不得的“康帅傅”方便面,“旺子”牛奶等。虽然现在我们看好像很容易分辨,但当年因看错而买到山寨产品的不在少数,给正品造成了不小的损失。钟薛高虽然在价格上引起一众网友的吐槽,但从商标布局来看,却是所有商家应当学习的对象。
对于很多知名品牌来讲,注册防御商标是非常常见的商标布局策略。随着市场竞争日益激烈,一些生产商、销售商利用他人知名商标“打擦边球”,利用已经具备一定影响力的商标为自己开拓销路和市场,更有甚者抢注商标后反而对原商标持有者提“维权”诉讼,让不少企业苦不堪言。而防御性商标的出现,一方面表明越来越多的企业知识产权保护意识在不断加强,另一方面也反映出恶意抢注商标“挂羊头卖狗肉”的侵权现象屡禁不止。如果企业想打造自己的一个金字招牌,那就需要去考虑该怎样防止被别人跟风模仿了。
仅提交下列证据,不被视为《商标法》意义上的商标使用:
1.商品销售合同或提供服务的协议、合同;
2.书面证言;
3.难以识别是否经过修改的物证、视听资料、网站信息等;
4.实物与复制品。