文章
  • 文章
  • 产品
搜索

服务分类

首页 >> 新闻资讯 >>最新政策 >> 因商标布局不足,“闲鱼”商标错失良机!
详细内容

因商标布局不足,“闲鱼”商标错失良机!

在我国实行先登记原则,在商标局注册的商标可以享有商标权。

同日提出申请的,应当对首次使用的商标进行初步审定。

法条注释:《商标法》第三条规定,经商标局核准注册的商标为注册商标,而商标注册人享有商标专用权,受法律保护

同为二手交易互联网平台的“闲鱼”在商标保护方面也走了弯路!

图片


闲鱼诞生于2014年6月,前身为“淘宝二手”,目前闲鱼用户已突破2亿,交易规模超千亿。自2014年诞生以来,阿里开始为“闲鱼”申请商标。

但是,由于阿里巴巴“闲鱼”商标布局的并不完善,截至目前共计244“闲鱼”相关商标中,有不少是由他人申请且成功注册的。


图片


面对这种境况,阿里巴巴当然不会放任不管,也采取了相应的措施。

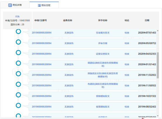
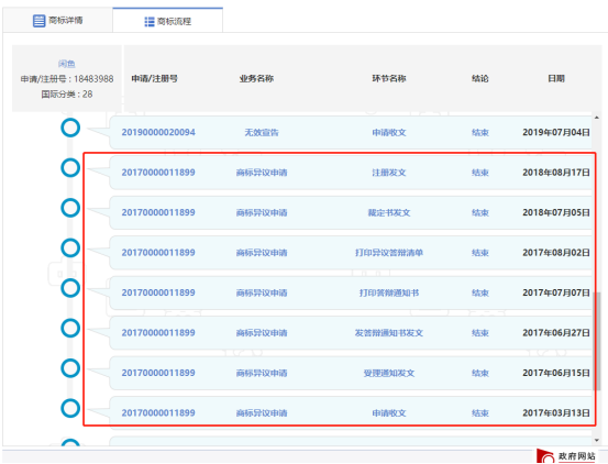
18483988号“闲鱼”商标由天同钜五金制品有限公司于2015年12月1日申请注册,指定使用在第28类,游戏器具,玩具,纸牌,台球等商品上。在初审公告期内,阿里巴巴对其曾提出异议申请,后经审查决定商标准予注册,专用权期限至2027年3月13日。


图片

图片


异议不成,2019年7月4日,阿里巴巴继续对其提出了无效宣告请求。


图片


为了证明争议商标系对申请人独创品牌的抄袭与复制,具有攀附其“闲鱼”品牌知名度的恶意,阿里巴巴特提出14910232号“闲鱼”商标(引证商标一)、第14910828号“闲鱼”商标(引证商标二)、第14910231号“闲鱼”商标(引证商标三)作为引证商标。

图片


引证商标一



图片


引证商标二



图片


引证商标三


国家知识产权局经审理认为,本案中,争议商标核定使用的游戏器具;玩具”等商品,与引证商标一、二、三未构成使用在类似商品及服务上的相同商标。

争议商标核定使用的“游戏器具;玩具”等商品与引证商标三核定使用的“广告”等服务在内容、场所、对象等方面相差甚远相关公众一般不会将上述商品及服务之间建立联系。

因此,争议商标的注册不致误导公众,致使申请人利益可能受到损害,争议商标的注册未构成2013年《商标法》第十三条第三款规定之情形。

综上,申请人无效宣告理由不成立。裁定:争议商标予以维持。当事人如不服本裁定,可以向北京知识产权法院起诉。


图片


初创企业也好,知名大型企业也好,商标布局工作的开展都至关重要。因为你不知道在什么时候会有另一个人出现,注册与你相同或类似的商标,借助你的口碑与名气获得市场与收益。

对于知名企业及品牌更是如此,全类别商标注册是商标防御布局的最简单也是最完备的策略,杜绝了一切“蹭名牌”“搭便车”的可能同时布局防御商标,例如老干妈系列商标,小米系列商标等!

所以商标布局要全面、尽早、尽快,企业未动,商标先行!占得先机,不留遗憾!



图片

专业知识每日分享










































我们协会想申请一个集体商标,请问集体成员名单应该包括哪些内容?
答:集体商标所有权属于该集体组织全体成员共同所有。根据相关规定,集体商标的注册人是集体组织,使用人是其成员,集体商标不得许可非集体成员使用。集体成员名单应详细列明该集体组织的全体成员名称(姓名)及地址。



服务监督

全程监督有保障

安全保障

SSL/TDE数据加密

专业解答

平均4年行业经验 持证上岗

售后无忧

不成功不收费,权益硬保障

一路通

服务项目

地址:珠海市香洲区金梦巷33号410办公

电话:公司注册:13326698609

           记账报税:18933211609

邮箱:ouyangbo@zh-ylt.com

微信:abo2677

关注订阅号

关注服务号

0
×

购物车

商品名称 数量 产品单价 折扣 总计
金额总计:¥23立即结算
seo seo