|
干货!广告词商标申请的知识点分享。在大众的心目中,广告语就是广告语而已,跟商标是两回事。但是好的广告语朗朗上口,大众辨识度很高。企业若想保护广告语不为他人所用,将广告语申请为商标也许是最好的选择。如海飞丝的“头屑去无踪 秀发更出众”,康师傅方便面“好吃看得见”,雀巢咖啡“味道好极了”等广告用语,均属于此种情形。 广告语,又称广告词,是指通过各种传播媒体向公众介绍商品或服务内容的一种宣传用语。凭借简短易记、号召力强等特点,成为品牌宣传和营销的一种重要手段。如果能将消费者所熟知的经典广告语注册为商标,对于企业打造和推介品牌,无疑是一个重要推手。 这也是企业乐于将广告语申请注册商标的重要原因。
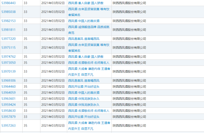
例:西凤酒注册广告语商标,是否符合注册条件?
根据《商标法》规定,商标注册要求该标识具有显著性,一般的广告宣传用语会缺乏显著性,审查员在进行商标审查时,要具体看这个广告语内容是什么,是否能够让消费者将该用语跟商家的服务或商品连接起来。 “累了困了喝东鹏特饮”、美的“有凉感无风感”等广告语商标注册被驳回,到‘Just do it’‘钻石恒久远,一颗永留传’‘累了困了乐摩吧’等商标获准注册,我们知道,企业品牌的广告语能否注册为商标,从根本上还要符合商标法的相关规定,看是否具有显著性。因为大部分广告语都是通俗词语,想发挥区分商品或服务来源的作用必须具有一定的显著性。 那么广告语注册商标需要符合哪些条件呢?
总之,如果企业一开始就打算将广告语申请商标注册寻求保护,就要严格依照商标注册的要件进行设计,避免选用纯描述性或仅直接表明商品或服务的功能、用途等特点的词汇。其次,还必须追求时效,即在广告发布之初甚至发出之前,及时提交商标注册申请,以防止他人恶意抢注。最后,还需要在广告语的实际使用的过程中,加大宣传力度,尽快使得广告语与企业自身产生一一对应关系,进一步强化其显著性。 专业知识每日分享 商标法【第十六条】 外国人或者外国企业在中国申请商标注册的,应当按其所属国和中华人民共和国签订的协议或者共同参加的国际条约办理,或者按对等原则办理。 |





